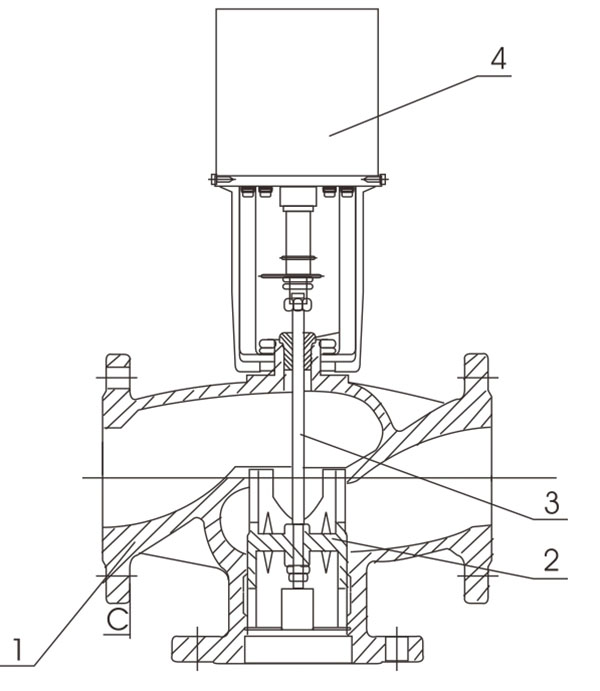
產品結構:
VB-7000系列法蘭閥調節閥包括閥體、閥蓋、閥瓣、閥桿、軸封、密封件。

安裝:
1、按閥體顯示的流動方向安裝。
2、安裝閥前應保證管道清潔、沒有焊接時留下的氧化物。
3、管道與閥體相連接時必須完全吻合。并不受振動。
4、用高溫流體(如蒸汽、過熱的水、透熱液體)作業的工廠,安裝時應使用伸縮接頭,以避免管道膨脹,擠壓閥體。
5、驅動器垂直安裝在閥體之上、避免驅動器裝在閥的下面。
6、需留出足夠的空間以便8常維護時,從閥體上拆卸驅動器。
7、閥不能安裝有于爆及環境溫度高于50C和低于-5C的環境中,也不能置于蒸汽、水力噴射或滴漏處。
主要技術參數:
介質:熱冷水、50%乙二醇、蒸汽
介質溫度: 2-120℃
公稱壓力PN: 1 600KPa
流量特性:等百分比或線性
滲漏量: Kv值的0.05%
主要材料:
1、閥體、閥座:球墨鑄鐵
2、閥瓣:黃銅
3、閥桿:不銹鋼
4、執行器
同一系列
























